SUNFORD VALVES
Valve Installation
- Gate Valve
- Always follow standard safety procedures when working on a valve.
- The valve should be welded onto the line with the wedge in the fully closed position. Leaving the valve even partially open can cause distortion and leaking.
- Verify the drawings to make sure that the valve has bi-directional sealing capability. If the valve only has unidirectional sealing capability, make sure it is installed into the pipeline in the correct orientation.
- Single direction sealing gate valves have a nameplate on the side of the valve that has a relief hole or pressure equalizer. This should be the high pressure side when the valve is closed.
- Globe Valve
- Always follow standard safety procedures when working on a valve.
- Globe valves should usually be installed with the inlet below the valve seat. For severe throttling service, the valve may be installed so that the flow enters over the top of the seat and goes down through it. Note that in this arrangement, the packings will be constantly pressurized. If the valve is to be installed in near throttling service, verify with Sunford Valves. Globe valves per se are not suitable for throttling service.
- The valve should be welded onto the line with the disc in the fully closed position. Leaving it even partially open can cause distortion and leaking. Allow time for the weld to cool before operating the valve the first time in the pipeline.
- The preferred orientation of a globe valve is upright. The valve may be installed in other orientations, but any deviation from vertical is a compromise. Installation upside down is not recommended because it can cause dirt to accumulate in the bonnet.
- Check Valve
- Always follow standard safety procedures when working on a valve.
- Check valves must be installed such that the arrow on the body of the valve points in the direction of desired fluid flow.
- All check valves should be installed at least ten pipe diameters away from upstream pumps, elbows, fittings or equipment.
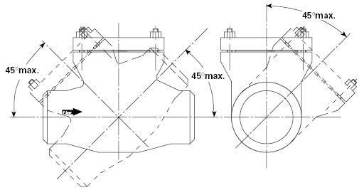
- Sunford Valves check valves without springs should be installed with the bonnet up, and the angle of incline should be no more the 45° from horizontal. Also, the roll angle of the valve bonnet should be no more than 45° from side to side.
- For vertical installation of a tilting check valve, special disc machining is required if vertical installation was not specified during quotation stage.
- Verify with Sunford Valves Engineering if the flow meets the minimum flow requirements of the valve in question. Low flows can cause disc chatter, wear of the seat and disc, and erosion.
- Check valves in multiple pump circuits may require special designs to prevent slang due to inadvertent pump trip. Verify flows, pump coast-down characteristics. Consult with Sunford Valves to ensure trouble-free service.
- Ball Valve
- Always follow standard safety procedures when working on a valve.
- Flush the pipeline before installing the valve. Debris allowed to remain in the pipeline (such as weld spatters, welding rods, bricks, tools, etc.) can damage the valve.
- After installation, cycle the valve a minimum of three times and re-torque bolts as required.
- FOR BUTT WELD END VALVES
- Ensure that the valve is in the open position and the inside of the body bore of the valve body/body end is coated with a suitable spatter guard.
- The post weld heat treatment must be localized. Make sure to keep intense heat away from the main portion of the valve (seats and ball). Do not cover valve in stress relieving blankets. The temperature of the main body section should not exceed the rated valve temperature.
- In certain applications, it may be necessary to remove all internal ‘soft’ material because of contractor heat treatment requests.
- Third party automation. Sunford Valves recommends detailed procedures when automating Sunford Valves Ball valves in the field. Please consult Sunford Valves for these procedures.
- BUTTERFLY VALVE
- Always follow standard safety procedures when working on a valve.
- Butterfly valves should be installed with the valve shaft horizontal or inclined from vertical.
- The valve should be mounted in the preferred direction, with the “HP” marking.
- The valve should be installed in the closed position to ensure that the laminated seal in the disc is not damaged during installation.
- If the pipe is lined, make sure that the valve disc does not contact the pipe lining during the opening stroke. Contact with lining can damage the valve disc.
- Third party automation. Sunford Valves recommends detailed procedures when automating Sunford Valves Butterfly valves in the field. Please consult Sunford Valves for these procedures.
