SUNFORD VALVES
Swing Check Valve Class 150/300/600
Swing Check Valve Class 150/300/600
Design & Manufacturer Standards
Valve Design / Shell Thickness | BS 1868 |
---|---|
Face to Face | ASME B 16.10 |
Flanged End Connections | ASME B 16.5 |
Pressure Temp. Ratings | ASME B 16.34 |
Butt Weld Dimension | API B 16.25 |
Inspection & Testing | API 598 / BS 5146 |
Special Features of Sunford Valves
- Body full bore to ensures streamlined flow hence no pressure drop.
- Self aligning free floating disc ensure perfect sealing.
- Bolted Bonnet
- Swing type, anti-rotation disc.
- Welded / Renewable seat rings
- Non-penetrate disc shaft
- Horizontal or vertical service
- Flange or butt welding ends
Available Modifications
- Trim Changes
- End Connection Modification
- Customer Specified Coatings
- Packing & Gasket Change
- Weld & Bore Changes
Hydraulic Test Pressure 150# | ||
---|---|---|
Body | 32 Kg/cm² | |
Seat & Back Seat | 23 Kg/cm² |
Hydraulic Test Pressure 300# | ||
---|---|---|
Body | 78 Kg/cm² | |
Seat & Back Seat | 58 Kg/cm² |
Hydraulic Test Pressure 600# | ||
---|---|---|
Body | 150 Kg/cm² | |
Seat & Back Seat | 110 Kg/cm² |
Pneumatic Test Pressure | ||
---|---|---|
Air Pressure | 08 Kg/cm² |
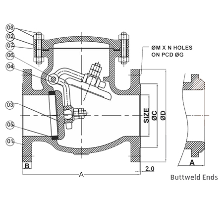
Part List | ||
---|---|---|
Sr. No. | Item Description | Material |
1 | Body | ASTM A 216 GR. WCB/A 352 LCB/A 217 WC6/A 351 CF8 / CF8M IS 210 GR 220 |
2 | Cover | ASTM A 216 GR. WCB/A 352 LCB/A 217 WC6/A 351 CF8 / CF8M IS 210 GR 220 |
3 | Disc | AISI 410 / 304 / 316 |
4 | Lever | ASTM A 216 GR. WCB/A 352 LCB/A 217 WC6 / A 351 CF8 / CF8M / IS 210 GR 220 |
5 | Seat Ring | AISI 410 / 304 / 316 |
6 | Lever Pin | AISI 410 / 304 / 316 |
7 | Gasket | SS 304 Spiral Wound with Graphite |
8 | Stud & Nut | ASTM A 193 GR B7 / 194 GR 2H |
ASME CLASS 150 | |||||||
---|---|---|---|---|---|---|---|
Size | A | B | ∅C | ∅D | ∅M | N | ∅G |
25 | 127 | 14.2 | 51 | 108 | 16 | 4 | 79 |
40 | 165 | 17.5 | 73 | 125 | 16 | 4 | 98.5 |
50 | 203 | 19 | 92 | 150 | 19 | 4 | 121 |
65 | 216 | 22.3 | 105 | 180 | 19 | 4 | 140 |
80 | 241 | 24 | 127 | 190 | 19 | 4 | 152 |
100 | 292 | 24 | 157 | 230 | 19 | 8 | 191 |
125 | 330 | 24 | 186 | 255 | 22 | 8 | 216 |
150 | 356 | 25 | 216 | 278 | 22 | 8 | 241 |
200 | 495 | 28.5 | 270 | 345 | 22 | 8 | 298 |
250 | 662 | 30 | 324 | 405 | 25 | 12 | 362 |
300 | 699 | 32 | 381 | 485 | 25 | 12 | 432 |
ASME CLASS 300 | |||||||
---|---|---|---|---|---|---|---|
Size | A | B | ∅C | ∅D | ∅M | N | ∅G |
25 | 216 | 17.5 | 51 | 125 | 19 | 4 | 89 |
40 | 241 | 20.5 | 73 | 155 | 22 | 4 | 114 |
50 | 267 | 22 | 92 | 165 | 19 | 8 | 127 |
65 | 292 | 25 | 105 | 190 | 22 | 8 | 149 |
80 | 318 | 28.5 | 127 | 210 | 22 | 8 | 168 |
100 | 356 | 32 | 157 | 255 | 22 | 8 | 200 |
125 | 400 | 35 | 186 | 280 | 22 | 8 | 235 |
150 | 444 | 36.5 | 216 | 320 | 22 | 12 | 270 |
200 | 533 | 41 | 270 | 380 | 25 | 12 | 330 |
250 | 622 | 47.5 | 324 | 445 | 29 | 16 | 387 |
300 | 711 | 51 | 381 | 520 | 32 | 16 | 451 |
Industries We Serve

Chemical Industries

Pharmaceutical Industries

Petrochemical Plant

Textile Industries

OEM & Contrators

Pulp, Paper, Sugar Industries

Water Treatment Plant
