SUNFORD VALVES
Forged Steel Piston Valve
Forged Steel Piston Valve
Technical Specification
Design Standard | B16.34/EN 12516.2 |
---|---|
Testing STandard | API 598 |
Face To Face Standard | Manufacture's Standard |
Socket Weld Standard | ASME B16.11 |
Screwed End Standard | ASME B1.20.1 |
Butt Weld Standard | ASME B16.25 |
Flange End Standard | ASME B 16.5 |
Hydraulic Test Pressure | ||
---|---|---|
Body | 31 Kg/cm² | |
Seat & Back Seat | 22 Kg/cm² | |
Air Test | 07 Kg/cm² |
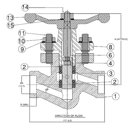
Part List | ||
---|---|---|
Sr. No. | Item Description | Material |
1 | Body | ASTM A 105 |
2 | Sealing Ring | GRAPHITE WITH SS304 RAINFORCED |
3 | Lantern Bush | ASTM A276 TYPE SS 410 |
4 | Piston | ASTM A276 TYPE SS 410 |
5 | Spindle Nut Washer | Brass |
6 | Spindle | ASTM A276 Type SS 410 |
7 | Spindle Nut | Brass IS319 GR.1 |
8 | Bonnet | ASTM A 105 |
9 | Belleville Washer | 50 CR V4 / ASTM 240 GR.302 |
10 | Nut | ASTM A 194 GR.2H |
11 | Stud | ASTM A 193 GR.B7 |
12 | Handwheel | MI / SGIRON |
13 | Handwheel Washer | MS |
14 | Handwheel Nut | ASTM A 194 GR. 2H |
Size | F/F(mm) | ∅P(mm) | H Open(mm) | H Close(mm) | ∅WH | B | ∅A(mm) |
---|---|---|---|---|---|---|---|
15 | 110 | 9 | 130 | 105 | 86 | 9.50 | 21.80 |
20 | 110 | 12 | 130 | 105 | 86 | 12.50 | 27.20 |
25 | 126 | 17 | 171 | 137 | 116 | 12.50 | 33.90 |
40 | 165 | 28 | 235 | 191 | 150 | 12.50 | 48.80 |
Industries We Serve

Chemical Industries

Pharmaceutical Industries

Petrochemical Plant

Textile Industries

OEM & Contrators

Pulp, Paper, Sugar Industries

Water Treatment Plant
